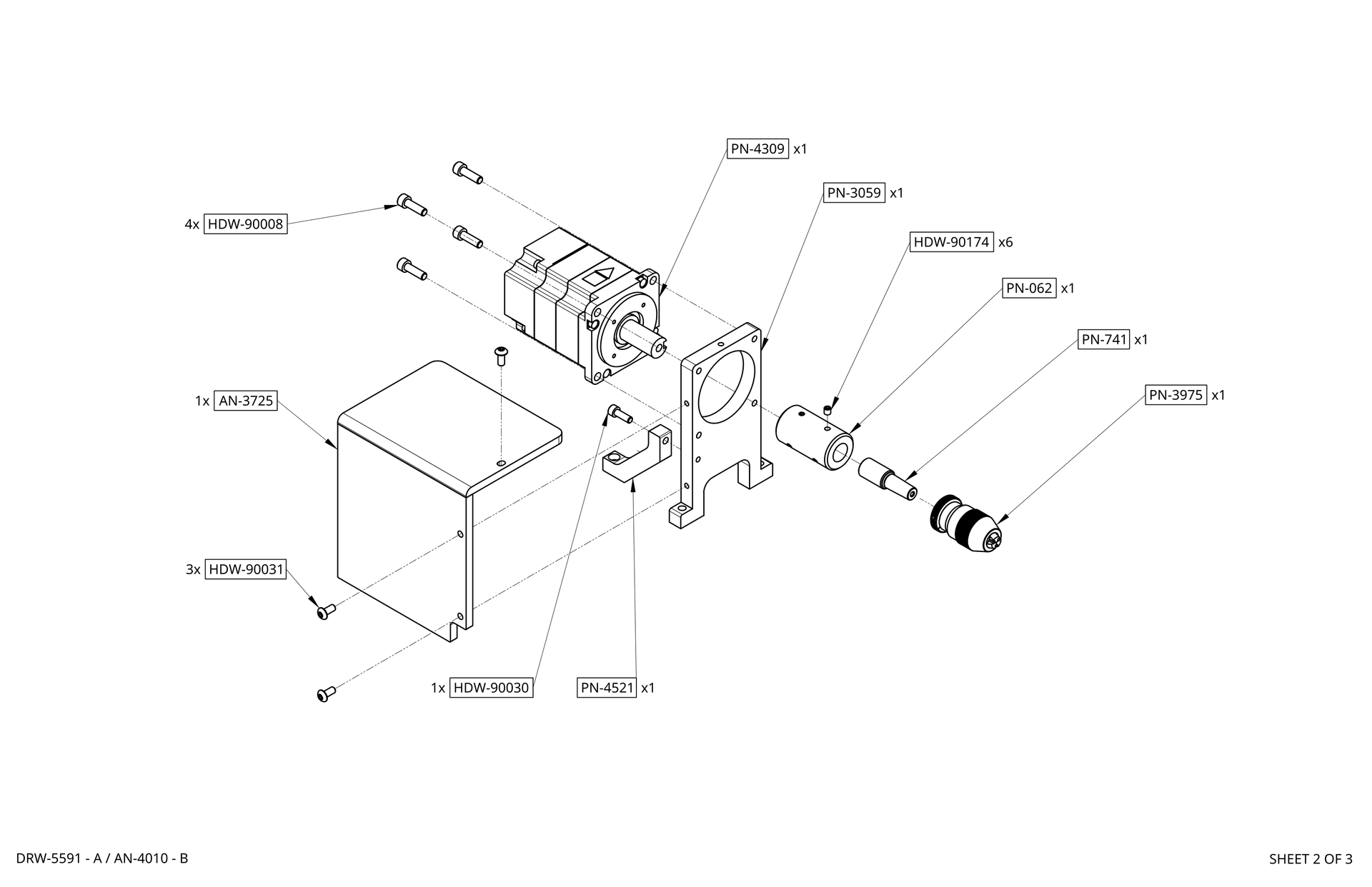
1000 Head Stock

subassemblies: